Medizintechnik-Patent Ultraschalluntersuchung mit KI-Unterstützung

Ein Gastbeitrag von Christian Metzger 2 min Lesedauer

Anbieter zum Thema

Aus der Fülle an Einreichungen beim Deutschen Patent- und Markenamt (DPMA) und Europäischen Patentamt (EPA) präsentiert die Devicemed-Redaktion wöchentlich das „Patent der Woche“. Heute: eine Ultraschalluntersuchung mit KI-Unterstützung.

Ultraschalluntersuchung mit KI-Unterstützung(Bild:  EP3409230B1)
Ultraschalluntersuchung mit KI-Unterstützung
(Bild: EP3409230B1)

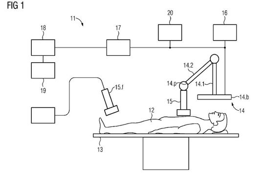
Um eine Ultraschalluntersuchung durchzuführen, wird ein Ultraschallkopf über das zu untersuchende Körperteil des Patienten bewegt. Für die Qualität der Ultraschallaufnahmen ist es entscheidend, entlang welcher Bahn und in welchem Winkel der Ultraschallkopf über das Körperteil bewegt wird.

Wo liegt das Problem?

Bei der Ultraschalluntersuchung macht sich die Erfahrung des Facharztes bemerkbar. Wenn ein weniger erfahrener Arzt die Ultraschalluntersuchung durchführt und den Ultraschallkopf nicht auf der richtigen Bahn und im richtigen Winkel über das Körperteil bewegt, sind die Ergebnisse oftmals weniger aussagekräftig.

Wie sieht die patentierte Lösung aus?

Siemens Healthcare hat sich mit dem europäischen Patent EP3409230B1 einen Ultraschallroboter schützen lassen, der den Arzt bei der Durchführung der Ultraschalluntersuchung unterstützt. Dem Roboter wird mitgeteilt, welche Körperregion des Patienten untersucht werden soll. Mittels künstlicher Intelligenz (KI) wird dann ein Bewegungsdatensatz für den Roboterarm vorgeschlagen, an dem der Ultraschallkopf befestigt ist.

Der Clou ist, dass der geplante Bewegungsablauf mittels eines Projektors auf die Körperoberfläche des Patienten projiziert wird – gewissermaßen als Vorschlag oder Empfehlung für den untersuchenden Arzt, wie der Ultraschallkopf zu bewegen ist.

Trainiert wurde die KI beispielsweise, indem ein erfahrener Arzt bei der Durchführung von Ultraschalluntersuchungen beobachtet, die von ihm ausgeführten Bewegungen des Ultraschallkopfes aufgezeichnet und als Trainingsdatensatz verwendet wurden.

Warum ist das interessant?

In dem Patent wird beansprucht, dass der Bewegungsdatensatz durch eine künstliche Intelligenz, genauer gesagt durch ein neuronales Netz, bestimmt wird. Bei Patentanmeldungen darf man es dabei nicht bei Buzzwords belassen, sondern muss genau erklären, wie es gemacht wird: Wie sehen die Inputdaten aus, wie die Outputdaten, wie die Trainingsdaten? Das sind Fragen, die in der Patentanmeldung beantwortet werden müssen. Wenn man hier nichts preisgibt, ist die Wahrscheinlichkeit groß, dass das Patentamt die Patentanmeldung als nicht ausführbar zurückweist.

In diesem Patent wird hierzu beispielsweise ausgeführt, dass bei den Trainingsdatensätzen immer eine „medizinische Fragestellung“ (z. B. die Größe des Patienten und das zu untersuchende Körperteil) mit einem Bewegungsdatensatz verknüpft ist, der durch manuelles Durchführen einer Ultraschalluntersuchung bereitgestellt werden kann.

Patentdaten

  • Aktenzeichen: EP3409230 (A1)
  • Anmeldetag: 31.05.2017
  • Veröffentlichungstag: 05.12.2018
  • Anmelder: SIEMENS HEALTHCARE GMBH, DE
  • Erfinder: Freudenberger, Jörg; Haider, Sultan; Molnar, Peter

Christian Metzger
Als Patentanwalt und Ingenieur unterstützt Christian Metzger Medizintechnik-Unternehmen beim Aufbau eines Patentportfolios, das die eigenen Innovationen vor Nachahmung schützt und den strategischen und unternehmerischen Bedürfnissen entspricht. Insbesondere dort, wo Medizintechnik auf Software und Digitalisierung trifft und digitale Maschinen entstehen.

Dabei kann er auf seine breite technologische und industrielle Erfahrung zurückgreifen, die er auch in seinen Jahren als Entwicklungsingenieur und – davor – als Unternehmensberater bei McKinsey & Company gesammelt hat.

Christian Metzger ist als Partner bei Realpatent Patentanwälte tätig, einer 1959 gegründeten Boutique-Patentanwaltskanzlei, die sich dem gewerblichen Rechtsschutz widmet.

Kontakt zu Christian Metzger auf Linkedin.

Bildquelle: Fotoatelier Starnberg (Nadine Abzouzi)

Dieser Artikel stammt von unserem Partnerportal DeviceMed.

(ID:49993652)

Jetzt Newsletter abonnieren

Täglich die wichtigsten Infos zu Big Data, Analytics & AI

Mit Klick auf „Newsletter abonnieren“ erkläre ich mich mit der Verarbeitung und Nutzung meiner Daten gemäß Einwilligungserklärung (bitte aufklappen für Details) einverstanden und akzeptiere die Nutzungsbedingungen. Weitere Informationen finde ich in unserer Datenschutzerklärung. Die Einwilligungserklärung bezieht sich u. a. auf die Zusendung von redaktionellen Newslettern per E-Mail und auf den Datenabgleich zu Marketingzwecken mit ausgewählten Werbepartnern (z. B. LinkedIn, Google, Meta).

Aufklappen für Details zu Ihrer Einwilligung